Общество с ограниченной ответственностью
"Научно-техническая производственная фирма "Эталон"
455030, Россия, Магнитогорск, Западное шоссе, 15
(3519) 580-155, mail@ntpf-etalon.ru

Вихревая горелка для сушки и разогрева сталеразливочных ковшей

Страница для печатиСтраница для печати

Для сушки и скоростного разогрева футеровки сталеразливочных ковшей ООО «НТПФ «Эталон» разработана скоростная диффузионная горелка с изменяемым объемом форкамеры и дополнительной карбюрацией газа в ядре факела (рис. 1).

Горелка для разогрева сталеразливочных ковшейОсобенностью данной горелки является возможность регулировки ее рабочих параметров в широких пределах с целью получения факела оптимальной длины, формы и температуры.

Устройство горелки

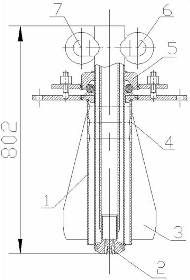
Горелка состоит из двух основных частей: неподвижной – образованной корпусом (поз. 1) и прижимным фланцем (поз. 5), и подвижной - образованной коаксиально расположенными трубами, центрирующимися друг относительно друга сопловой головкой (поз. 2). Корпус состоит из трубы Ø 159 мм и приваренным к ее верхней части крепежным фланцем. На корпусе с внешней стороны установлены десять воздухозавихрительных лопаток (поз. 3), расположенных под углом 20° к оси горелки. В верхней части корпуса выполнена перфорация (отверстия Ø 20 мм) (поз.4). Подвижная центральная часть выполнена из труб диаметром Ø 108 мм и Ø 70 мм. Для независимой подачи газа каждая из этих труб имеет индивидуальный подвод газа, осуществляемый через патрубки Dу=50 мм (поз. 6 и 7). Фиксация подвижной части горелки относительно корпуса осуществляется зажимом асбестового шнура прижимным фланцем посредством затягивания четырех регулировочных гаек.

Рис. 1 Диффузионная скоростная горелка для сушки и
высокотемпературного разогрева сталеразливочных ковшей:
1 — корпус: 2 — сопловая головка; 3 — лопатки для закручивания потока воздуха; 4 — отверстия для подачи воздуха в камеру предварительного смешения; 5 — фланец прижимной для регулирования объема форкамеры; 6 — патрубок подачи газа к центральным соплам; 7 — патрубок подачи газа к периферийным соплам.

Сопловая головка имеет два ряда газовых сопел. Первый (периферийный) ряд состоит из 12 отверстий Ø 7 мм, расходящихся под углом 30° относительно оси горелки. Второй (центральный) ряд состоит из 6 отверстий Ø 10 мм, сходящихся к оси горелки под углом 10°.

Все узлы горелки, за исключением крепежного и прижимного фланцев, а так же фиксирующих гаек, выполнены из нержавеющей жаропрочной стали.

Горелка для разогрева сталеразливочных ковшейПринцип работы горелки

Природный газ, как отмечалось ранее, подается по двум независмым относительно друг друга патрубкам. Окислительный газ тангенциально закручивается лопатками корпуса горелки для улучшения смешения со струями газа, истекающими из сопловой головки под углом 30° (периферийные сопла), и под углом 10° (центральные сопла). Часть воздуха (до 10 %) подается через отверстия в верхней части корпуса в форкамеру (при наличии определенной регулировки).
Изменение расхода газа на каждый ввод влияет на форму и длину факела. Увеличение расхода газа на периферийные сопла (струи газа исходящие под углом 30° к тангенциально движущемуся потоку воздуха) позволяет получать раскрытый факел, что позитивно сказывается на скорости и равномерности нагрева шлакового пояса ковша. В тоже время увеличение расхода газа на центральные сопла приводит к получению «дальнобойного» факела, позволяющего интенсифицировать нагрев дна ковша. Струи газа сходящиеся под углом в 10° «дробят» друг друга, тем самым гася кинетику общего потока. Следует заметить, что при данной регулировке горелка обеспечивает получение наиболее высокоскоростного потока теплоносителя с температурой 1300 – 1350 °С.

Рис. 2 Диффузионная скоростная горелка для сушки и высокотемпературного нагрева сталеразливочных ковшей ЭСПЦ ОАО «ММК». Форкамера образуется перемещение подвижной части горелки вверх на 250 – 270 мм

Подъем относительно корпуса подвижной части горелки на 250 – 260 мм позволяет организовать внутри ее форкамеру, в которой происходит неполное сгорание части газа, что, в свою очередь, приводит к выпадению сажестых частиц в ее объеме при горении газа с ά<1. Охлаждение стенок форкамеры осуществляется вентиляторным воздухом, поступающим на горение. В форкамеру воздух попадает через перфорацию в верхней части корпуса горелки, в объеме ≈ 10 % от общего количества идущего на горение. Далее на срезе торцевой части горелки происходит интенсивное смешение с основным потоком подогретого вентиляторного воздуха, и окончательное дожигание турбулизированного потока газа. Данное мероприятие делает возможным получение хорошо святящегося факела с температурой 1350 - 1400 °С. Так же следует заметить, что организация форкамеры внутри горелки предотвращает отрыв факела даже при максимальных расходах газа.

Технические характеристики горелки
Параметр Норма
Номинальная тепловая мощность, МВт 8,5
Максимальная тепловая мощность, МВт 8,8
Номинальный расход газа, м3 910
Максимальный расход газа, м3 938
Номинальное давление газа, кПа 250
Коэффициент расхода первичного воздуха 0,1
Суммарный коэффициент расхода воздуха 1,15
Длина факела, м 3,5–5,5
Масса горелки, кг 120

НТПФ "Эталон" производит и другие модели горелочных устройств

© ООО "НТПФ "Эталон"