Общество с ограниченной ответственностью
"Научно-техническая производственная фирма "Эталон"
455030, Россия, Магнитогорск, Западное шоссе, 15
(3519) 580-155, mail@ntpf-etalon.ru

Вихревые газовые горелки

Страница для печатиСтраница для печати

Применяется для сжигания природного газа в коротком факеле применительно к агрегатам для получения теплоносителя топок печных и котельных агрегатов. Особенностью горелки является использование смесителя, сочетающего вихревой принцип истечения воздуха с инжекцией в этот поток газа хордальными и радиальными сходящимися струями.

Горелки

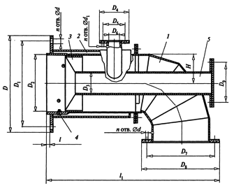
Вихревая газовая горелка : 1 — воздушный корпус; 2 — газовый коллектор; 3 — завихритель; 4 — жиклер; 5 — направляющая труба.

Горелка состоит из воздухоподводящего корпуса с патрубком, периферийного газового коллектора, завихрителя воздуха с лопатками, установленными под углом 45°, и направляющей трубы. В стенке газового коллектора установлены жиклеры (газовые сопла), расположенные в два ряда. В первом ряду, ближайшем к выходному сечению горелки, установлены жиклеров, половина из которых направлены радиально к оси горелки. Остальные жиклеры этого ряда имеют хордальное направление своих осей в сечении горелки. Кроме того, оси жиклеров имеют наклон в сторону касательно к окружности. Во втором ряду, около завихрителя воздуха, установлены жиклеры, расположенные хордально и с углом наклона осей 60°. Причем половина жиклеров попарно имеют наклон в сторону горелочного туннеля, а половина — в сторону завихрителя воздуха. Розжиг горелки осуществляется от запальносигнализирующего устройства, устанавливаемого в направляющую трубу.

Основные технические характеристики вихревых горелок

Горелки
© ООО "НТПФ "Эталон"