Общество с ограниченной ответственностью
"Научно-техническая производственная фирма "Эталон"
455030, Россия, Магнитогорск, Западное шоссе, 15
(3519) 580-155, mail@ntpf-etalon.ru

U-образные радиационные трубы типа ТРУН

Страница для печатиСтраница для печати

U-образная радиационная труба с настильным факелом ТРУН предназначена для отопления термических печей работающих с контролируемой атмосферой и назначение которой заключается в муфелировании пламени в печах и обеспечении равномерного теплообмена в рабочем пространстве печей.

Горелки

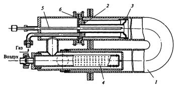
U-образные радиационные трубы типа ТРУН: 1 — излучающий корпус; 2 — газовая шайба; 3 — завихритель; 4 — рекуператор; 5 — запальное устройство; 6 — воздушная шайба.

При работе радиационной трубы воздух разделяется на два потока. Основной поток подогретого воздуха подается по центру горелочного устройства. Часть воздуха после предварительного смешения с газом через завихритель вытекает вдоль поверхности излучающей трубы, где происходит горение в настильном факеле при постепенном подмешивании вторичного воздуха.

Горелки
© ООО "НТПФ "Эталон"