Общество с ограниченной ответственностью
"Научно-техническая производственная фирма "Эталон"
455030, Россия, Магнитогорск, Западное шоссе, 15
(3519) 580-155, mail@ntpf-etalon.ru

Горелка ГД

Страница для печатиСтраница для печати

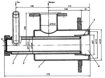
Горелка ГД предназначена для отопления колпаковых печей природным газом с воздухом, подогретым до 300 °С в рекуперативно-эжекторном устройстве.

Горелки

Горелка состоит из корпуса 1, наружной 2 и внутренней 3 труб. Природный газ проходит по щели между наружной и внутренней трубами и через систему отверстий поступает в камеру смешения 4. В эту же камеру через перфорированный диффузор 5 подается подогретый воздух, проходящий в пространстве между корпусом и наружной трубой. Внутренняя труба служит смотровым патрубком 6 и может быть использована для розжига горелки переносным запальником. Технические характеристики горелки ГД приведены в таблице.

Горелки
© ООО "НТПФ "Эталон"